Product Details
|
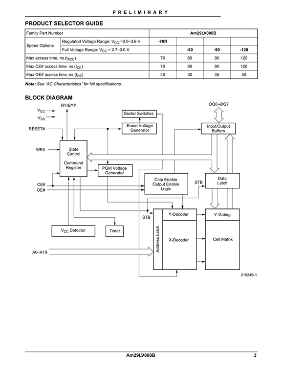
GENERAL DESCRIPTION The Am29LV008B is an 8 Mbit, 3.0 volt-only Flash memory organized as 1,048,576 bytes. The device is offered in a 40-pin TSOP package. The byte-wide (x8) data appears on DQ7–DQ0. This device requires only a single, 3.0 volt VCC supply to perform read, program, and erase operations. A standard EPROM programmer can also be used to program and erase the device. DISTINCTIVE CHARACTERISTICS ■ Single power supply operation — Full voltage range: 2.7 to 3.6 volt read and write operations for battery-powered applications — Regulated voltage range: 3.0 to 3.6 volt read and write operations and for compatibility with high performance 3.3 volt microprocessors ■ Manufactured on 0.32 μm process technology — Compatible with 0.5 μm Am29LV008 device ■ High performance — Full voltage range: access times as fast as 90 ns — Regulated voltage range: access times as fast as 70 ns ■ Ultra low power consumption (typical values at 5 MHz) — 200 nA Automatic Sleep mode current — 200 nA standby mode current — 7 mA read current — 15 mA program/erase current ■ Flexible sector architecture — One 16 Kbyte, two 8 Kbyte, one 32 Kbyte, and fifteen 64 Kbyte sectors — Supports full chip erase — Sector Protection features: A hardware method of locking a sector to prevent any program or erase operations within that sector Sectors can be locked in-system or via programming equipment Temporary Sector Unprotect feature allows code changes in previously locked sectors ■ Unlock Bypass Program Command — Reduces overall programming time when issuing multiple program command sequences ■ Top or bottom boot block configurations available ■ Embedded Algorithms — Embedded Erase algorithm automatically preprograms and erases the entire chip or any combination of designated sectors — Embedded Program algorithm automatically writes and verifies data at specified addresses ■ Minimum 1,000,000 write cycle guarantee per sector ■ 20-year data retention at 125°C — Reliable operation for the life of the system ■ Package option — 40-pin TSOP ■ Compatibility with JEDEC standards — Pinout and software compatible with singlepower supply Flash — Superior inadvertent write protection ■ Data# Polling and toggle bits — Provides a software method of detecting program or erase operation completion ■ Ready/Busy# pin (RY/BY#) — Provides a hardware method of detecting program or erase cycle completion ■ Erase Suspend/Erase Resume — Suspends an erase operation to read data from, or program data to, a sector that is not being erased, then resumes the erase operation ■ Hardware reset pin (RESET#) — Hardware method to reset the device to reading array data |
Product Description
| Type# | Description |
| ANSC PART# | ANSC- AM29LV008BT-90EC |
| Ihs Manufacturer | Original |
| Part Package Code | TSOP1 |
| Package Description | TSSOP, TSSOP40,.8,20 |
| Pin Count | 40 |
| Access Time-Max | 90 ns |
| Additional Feature | MINIMUM 1000K WRITE CYCLE; 20 YEAR DATA RETENTION |
| Boot Block | TOP |
| Command User Interface | YES |
| Data Polling | YES |
| Data Retention Time-Min | 20 |
| Endurance | 1000000 Write/Erase Cycles |
| Length | 18.4 mm |
| Memory Density | 8388608 bit |
| Memory IC Type | FLASH |
| Memory Width | 8 |
| Number of Functions | 1 |
| Number of Sectors/Size | 1,2,1,15 |
| Number of Terminals | 40 |
| Number of Words | 1048576 words |
| Number of Words Code | 1000000 |
| Operating Mode | ASYNCHRONOUS |
| Operating Temperature-Max |
70 °C |
| Operating Temperature-Min | |
| Organization | 1MX8 |
| Package Body Material | PLASTIC/EPOXY |
| Package Code | TSSOP |
| Package Equivalence Code | TSSOP40,.8,20 |
| Package Shape | RECTANGULAR |
| Package Style | SMALL OUTLINE, THIN PROFILE, SHRINK PITCH |
| Parallel/Serial | PARALLEL |
| Programming Voltage | 3 V |
| Qualification Status | Not Qualified |
| Ready/Busy | YES |
| Seated Height-Max | 1.2 mm |
| Sector Size | 16K,8K,32K,64K |
| Standby Current-Max | 0.000005 A |
| Supply Current-Max | 0.03 mA |
| Supply Voltage-Max (Vsup) | 3.6 V |
| Supply Voltage-Min (Vsup) | 2.7 V |
| Supply Voltage-Nom (Vsup) | 3 V |
| Surface Mount | YES |
| Technology | CMOS |
| Temperature Grade | COMMERCIAL |
| Terminal Finish | Tin/Lead (Sn/Pb) |
| Terminal Form | GULL WING |
| Terminal Pitch | 0.5 mm |
| Terminal Position | DUAL |
| Toggle Bit | YES |
| Type | NOR TYPE |
| Width | 10 mm |
| Write Cycle Time-Max (tWC) | 0.00009 ms |
Product Photos
Product datasheet
For more information, please download
Payment&Transportation
Official Certificate&Certificate
Standard packaging
Multiple product supply
Welcome to visit our company
Warehouse Real Shot
Hot Selling Product Recommendation
| Model | brand | quantity | package |
| BZX384-C5V1 | NXP | 6000 | SOD323 |
| SN74LVC1G123DCUR | TI | 2500 | VSSOP8 |
| V33MLA1206H | Littelfuse | 1000 | SMD1206 |
| FDS8958A | FAIRCHILD | 900 | SOP8 |
| MC2904DR2G | ON | 775 | SOP-8 |
| ICL3232IVZ | INTERSIL | 152 | TSSOP16 |
| IAM-82008-TR1 | AGILENT | 150 | SOP8 |
| NJM2882F03 | JRC | 100 | SOT23-5 |
| LP2988AIMX-3.0 | NSC | 22500 | SOP8 |
| TUSB522PRGER | TI | 52000 | QFN |
| NJM3717FM2 | JRC | 10500 | PLCC28 |
| OPA4322AIPWR | TI | 8500 | TSSOP14 |
| AT45DB321D-SU | ATMEL | 4900 | SOP8 |
| FDS8958A | FAIRCHILD | 3888 | SOP8 |
| DS2502P-500 | DALLAS | 3575 | SON-6 |
| PCA9500PW | NXP | 2500 | TSSOP16 |
| 20645-040T-01 | I-PEX | 1926 | CONN |
| SUD50P04-09L-E3 | VISHAY | 1670 | TO-252 |
| TL1431CPWR | TI | 1344 | TSSOP8 |
| PSMN3R0-30YLD | NXP | 980 | SOT669 |
| SG-615L14.7456MHZ | Epson | 945 | CRYSTAL OSCILLATOR |
| IRF7311TRPBF | IR | 942 | SOP-8 |
| MIC4827YMM | MICREL | 860 | MSOP-8 |
| S9S08RNA16M | FREESCALE | 759 | QFP32 |
| AD9884AKS-100 | ADI | 330 | QFP |
| ST4SI2M0020TPIFW | ST | 122 | DFN |
| MIC2505-2YM | MICROCHIP | 3525 | SOP8 |
| SSM3J351R,LXGF | TOSHIBA | 12000 | SOT23 |
| PBY160808T-601Y-N | CHILISIN | 8000 | SMD |
| R820T | RAFAEL | 200 | QFN-24 |
| SN74HCT573DWR | TI | 386 | SOP |
| NVTFS5116PLTAG | ON | 90 | WDFN-8 |
| ATXMEGA32A4U-ANR | MICROCHIP | 82000 | QFP44 |
| PIC16F18425-I/ST | MICROCHIP | 5260 | TSSOP14 |
| 80HCPS1848CRMI | IDT | 119 | BGA |
| BCM85110IFSBG | BROADCOM | 100 | BGA |
| WG82574IT S LBAC | INTEL | 78 | QFN64 |
| XC7VX1140T-1FLG1930I | XILINX | 60 | BGA |
| LMH0384SQE/NOPB | TI | 24 | WQFN-16 |
| XCVU19P-2FSVB3824E | XILINX | 10 |
BGA |





